Различные аксессуары для счетчиков линейных смещений.
Описание
Механическая версия
|
Применимый измерительный датчик |
Название модели |
|
|
GS-251/251W |
AA-812
производства
|
|
|
GS-201,GS-102 HS-3412/3425 DG-525H/825/925* |
AA-813 |
*Используется с подъемным механизмом AA-972.
Воздушная версия
|
Применимый измерительный датчик |
Название модели |
|
|
GS-201, GS-102, BS-102/112 |
AA-816 |
|
* Используется с подъемным механизмом AA-972.
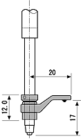
Подъем пальца
|
Применимый измерительный датчик |
Название модели |
|
|
Для всех моделей (за исключением серий BS и водостойкого типа) |
AA-969 |
|
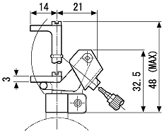
Подъемный рычаг / Подъемный механизм
|
Применимый измерительный датчик |
Название модели |
|
|
DG-525H/825/925 |
AA-971 |
|
|
DG-525H/825/925 |
AA-972 |
|
Пневматический подъемник
|
Применимый измерительный датчик |
Название модели |
|
|
GS-1513A/1613A/ |
AA-6100 Снят с производства |
<Чертеж воздуховода >
|
|
GS-1530A/1630A/ |
AA-6101
Снят с производства |
|
|
GS-1713/1813/ |
AA-6102 |
|
|
GS-1730/1830/ |
AA-6103 |
|
* 1 Пневматический подъемник (AA-6100/6101): не относится к классу защиты IP64, IP64G
* 2 Пневматический подъемник AA-3102/3103 необходим для удлинительного шпинделя. Полная длина становится больше на 22 мм / 37 мм.
* 3 Требуется для воздушного трубопровода и электромагнитного клапана для включения / выключения. Расстояние между монтажной поверхностью датчика и датчиком шпинделя (9 мм) не меняется.
Удлинительный шпиндель (измерение глубины отверстия под штифт)
|
Длина удлинителя |
Название модели |
|
|
30 мм |
AA-844 |
|
|
50 мм |
AA-845 |
|
Измерительные наконечники
|
AA-0200 |
AA-0210 |
AA-0220 *1 |
AA-0230 |
AA-0240 |
|
Материал на кончике: стальной шар |
Материал: SKS3 |
Материал: SKS3 |
Материал: SKS3 |
Material: SKS3 |
|
AA-0250 |
AA-0260 |
AA-827 *2 |
AA-828 *2 |
AA-0310 |
|
Материал: SKS3 |
Материал: SKS3 |
Материал: SUj2 |
Материал: SUj2 |
Материал на кончике: стальной шар |
|
AA-0320 |
AA-921 |
AA-0330 |
AA-0400 |
|
|
Материал: SKS3 |
Материал: SKS3 |
Материал на кончике: карбид |
Материал шарика на кончике: рубин |
* 1 При установке плоского измерительного наконечника, такого как AA-0220/0240/0250, на измерительный датчик с разрешением измерения 1/1000 мм (1 мкм), требуется регулировка степени параллельности поверхности измерительного стенда. В этом случае измерительный наконечник и штатив для датчика необходимо покупать в паре.
* Точность после нашей настройки параллельности: прибл. 10 мкм
* 2 При установке роликового измерительного наконечника, такого как AA-827/828 и т. д., на измерительный датчик с разрешением измерения 1/1000 мм (1 мкм), точность, описанная в его технических характеристиках, не достигается.
В AA-827/828 используется подшипник, но, поскольку зазор не может быть устранен, может появиться ошибка примерно 10 мкм.
Адаптер шарнирного измерительного наконечника (для замены измерительного наконечника)
|
Применимый измерительный датчик |
Название модели |
|
|
GS-102/251/503/1000 |
AA-829
|
Материал:C36002 |
Пыленепроницаемая резиновая прокладка
|
Применимый измерительный датчик |
Название модели |
L1 |
Внешний диаметр
втулки |
Внешний
диаметр резиновой прокладки |
Диаметр стержня |
Материал *3 |
|
GS-1000 |
AA-841 *1 |
40.5 |
22 |
24 |
15 |
CR |
|
GS-102/251 |
AA-843 *1 |
10.5 |
16 |
15 |
8 |
NBR |
|
GS-503 |
AA-854 *1 Снята с производства |
10.5 |
17 |
15 |
10 |
CR |
|
BS-102/102W/ |
AA-973 *1 Снята с производства |
- |
- |
8 |
8 |
EPM |
|
GS-5011 |
AA-975 *2 |
8.5 |
- |
16 |
20 |
NBR |
|
GS-1513A/1613A/ |
AA-4100 |
- |
- |
8 |
8 |
Si |
|
GS-1530A/1630A/ |
AA-4101 Снята с производства |
- |
- |
8 |
8 |
Si |
|
GS-4513/4613/ |
Под заказ |
- |
- |
10 |
10 |
Si |
|
GS-1713/1813/ |
AA-4102 |
- |
- |
8 |
15 |
Si |
|
GS-1730/1830/ |
AA-4103 |
- |
- |
8 |
15 |
Si |
|
GS-4713/4813/ |
AA-4104 |
- |
- |
8 |
15 |
HNBR |
|
GS-4730/4830/ |
AA-4105 |
- |
- |
8 |
15 |
HNBR |
*1 В стандартную комплектацию входит измерительный наконечник для пылезащитной резиновой прокладки. (Внешние размеры см. на следующем чертеже.)
*2 В стандартной комплектации предусмотрено соединение для пылезащитной резиновой прокладки. (Внешние размеры см. на вышеприведенном и следующих чертежах.)
*3 CR: хлоропреновый каучук, NBR: нитрильный каучук, EPM: этилен-пропиленовый каучук, Si: силиконовый каучук, HNBR: гидрированный нитрильный каучук
*4 Пылезащитная резиновая прокладка для серии GS-4500/4600 (материал: фторкаучук) изготавливается на заказ. (Для замены верните нам товар.)
*5 Требуется установка от Ono Sokki. (Стоимость доставки может быть оплачена отдельно.)
|
Монтажное приспособление
|
Применимый измерительный датчик |
Название модели |
|
|
GS-1000 |
AA-855 |
|
|
GS-5050/5051/5100/5101 |
AA-8560 |
|
|
GS-102/251/251W |
AA-968 (Плоская обратная сторона) |
|
|
GS-1513A/1530A/1613A/1630A |
AA-3300 |
|
|
GS-1513A/1530A/1613A/1630A |
AA-3310 |
|
Стенд для датчиков
|
Название модели датчика |
ST-022 |
ST-0230 |
ST-044B |
|
|
Применяемый датчик |
Датчик |
BS-1210 *1 |
GS-1713A/1730A |
GS-5050A/5100A |
|
справка |
Диаметр стержня 8 мм Ход поршня 10 мм |
Диаметр стержня 15 мм |
Диаметр стержня 15 мм |
|
|
Размер стола (мм) |
80 × 85 |
105 × 105 |
||
|
Диаметр монтажного отверстия |
8 – 10 мм |
15 мм |
15 – 20 мм |
|
|
Материал стола |
Керамика (с пазом) |
|||
|
Плоскость измерительной поверхности |
1 мкм |
|||
|
Шероховатость измерительной поверхности |
0.4 S финишная притирка |
|||
|
Базовая подставка (Ширина×Глубина мм) |
100 ×160 |
130 × 200 |
||
|
Измеряемая глубина (мм) |
прибл. 59 |
прибл. 60 |
прибл. 73.5 |
|
|
Измеряемая высота (мм) |
прибл. 115 |
прибл. 210 |
||
|
Вес |
4.1 кг |
4.2 кг |
7.5 кг |
|
*1 Требуется втулка стойки AA-891 для ST-0230 и ST-044B в зависимости от комбинации с измерительным датчиком с диаметром стержня ø8.
Ручка (A): для установки и снятия с датчика
Ручка (B) и (C): вертикальная регулировка стойки (вала)
Точность стенда для датчика
Внешние размеры SH-022 и ST-022 одинаковы, но точность прямоугольности и параллельности различна.

|
|
SH-022 |
ST-022 |
ST-044B |
|
X |
≤0,03/80 мм |
≤0,05/80 мм |
≤0,08/100 мм |
|
Y |
≤0,04/100 мм |
≤0,06/100 мм |
≤0,20/100 мм |
|
Z |
≤0,07/100 мм |
≤0,16/100 мм |
≤0,48/250 мм |
|
XZ |
≤0,10/100 мм |
≤0,215/100 мм |
≤0,67/250 мм |
При присоединении плоского измерительного наконечника, такого как AA-0220/0240/0250/921, к датчику с разрешением измерения 0,05 мкм / 1 мкм, требуется регулировка степени параллельности поверхности измерительного стенда. В этом случае измерительный наконечник и подставку необходимо покупать в паре (требуется дополнительная плата). Точность распараллеливания составляет не более 10 мкм. Пожалуйста, свяжитесь с ближайшим к вам дистрибьютором или напишите нам overseas@ONO SOKKI.co.jp
Резервное питание / Расходные материалы
|
Название модели |
Название продукта |
Назначение |
|
DG-0420 Снята с производства |
Крышка клеммной колодки |
DG-4240/4280 |
|
R03-PB6M |
Разъем для сигнала измерительного датчика |
- |
|
57-30360 |
36-жильный разъем (для сигнального кабеля BCD) |
RQ-1410 Снят с производства |
|
DX40-36P |
36-жильный разъем для кабеля, для сигнала BCD, под пайку (необходим DX36CV1) |
DG-4120/4140/4240/4280 |
|
DX36CV1 |
Крышка штекера для DX36CV1 |
DX40-36P |
|
TA2096 |
Адаптер для источника питания переменного тока (кабель: прибл. 1,8 м) Вход: 100 В переменного тока, Выход: 9 В постоянного тока / 300 мА |
DG-525H/825/925 |
|
AA-5100 |
Термальная записывающая бумага (10-рулонов / упаковка) |
RQ-1410 |